行业指数分析
A股指数
申万行业
国债
新闻资讯
登录
注册
返回首页
用户登录
×
登录
注册
找回密码
邮箱地址
@
密码
🔒
登录
邮箱地址
@
密码
🔒
确认密码
🔒
注册
邮箱地址
@
发送重置链接
新密码
🔒
确认新密码
🔒
重置密码
首页
>
新闻
>
龙虎榜
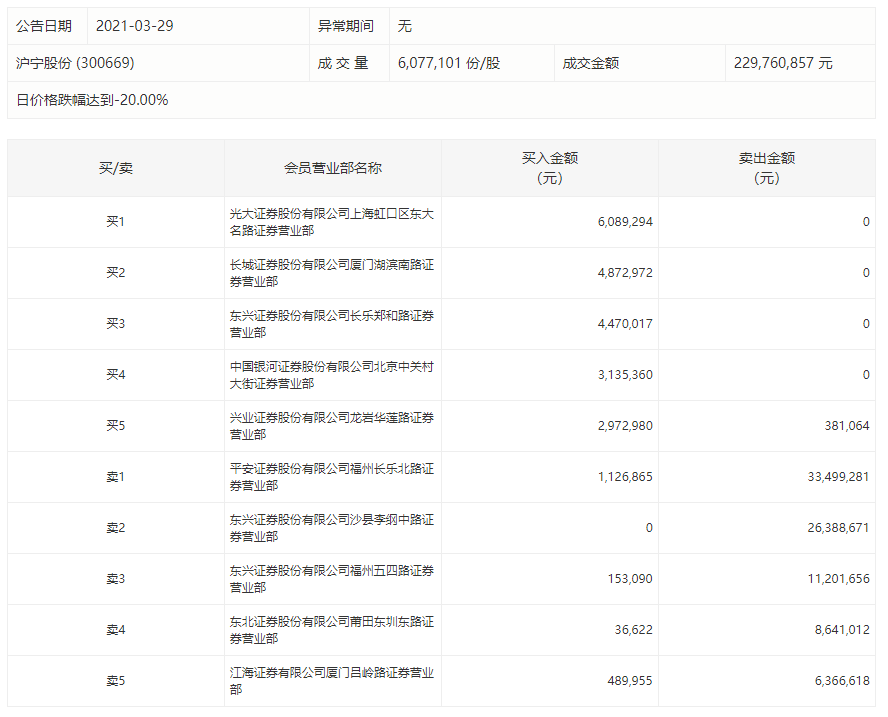
龙虎榜|沪宁股份大跌20% 福建地区营业部卖出逾8600万元
2021/3/29 16:41:42
【龙虎榜|沪宁股份大跌20% 福建地区营业部卖出逾8600万元】3月29日讯,今日,沪宁股份大跌20%,全天成交额2.3亿元,该股上周五涨停。龙虎榜数据显示,该股前五卖方席位全部位于福建省,合计卖出8609.72万元,其中,平安证券福州长乐北路卖出3350万元。
相关图片
相关个股
沪宁股份 (sz300669)
文章分类
龙虎榜
相关股票 (1)
沪宁股份
sz300669
主要指数
沪深300
000300
上证50
000016
创业板指
399006
深证成指
399001
科创50
000688